EKAZA ZUNO ROBÔ ASPIRADOR DE PÓ - Manual de Usuário

**Modelo:** EKTS-T5200G
**Recursos:** Limpeza de pó e líquidos | Wi-Fi | Pano integrado | Mapeamento inteligente | Giroscópio | Controle por aplicativo
---
## PARABÉNS
O robô aspirador de pó inteligente EKAZA é projetado para proporcionar uma limpeza eficiente e prática em sua casa. Com Wi-Fi integrado, ele oferece controle remoto através do EKAZA App, permitindo que você agende e controle a limpeza de qualquer lugar.
Seu design compacto e moderno se adapta perfeitamente aos diferentes ambientes da sua casa, garantindo eficiência sem comprometer a estética. Além disso, o robô é compatível com Alexa e Google Home, permitindo que você inicie a limpeza com comandos de voz.
---
## ESPECIFICAÇÕES
### Robô Aspirador
* **Tensão:** 7,4V
* **Potência:** 24W
* **Bateria:** 5200mAh
* **Conexão:** WiFi
* **Distância de Controle Remoto:** Cerca de 6 Metros
* **Tempo de Carregamento:** Cerca de 4~6 Horas
* **Volume Depósito de Poeira:** 400ml
* **Volume Depósito de Líquido:** 250ml
* **Sucção:** 3000pa
* **Dimensões:** 305x305x75mm
* **Validade:** Indeterminada
### Fonte de Alimentação
* **Tensão de Entrada:** AC 100V~240V, 50/60HZ
* **Tensão de Saída:** DC 12V
* **Corrente de Saída:** 1A
---
## CONTEÚDO DA EMBALAGEM
| Quantidade | Item |
| :--------- | :-------------------------------------- |
| 01 | Robô Aspirador (Incluindo Bateria) |
| 01 | Fonte de Alimentação |
| 01 | Base de Carregamento |
| 01 | Tanque 2 em 1 para Líquidos e Poeira |
| 01 | Filtro HEPA |
| 01 | Controle Remoto |
| 02 | Escova Lateral |
| 01 | Pano Mop |
| 01 | Suporte para o Pano Mop |
| 01 | Escova de Limpeza |
---
## DIAGRAMA DO PRODUTO

**Vista Superior:**
* Luz Indicativa conexão WiFi
* Sinal Infravermelho (frontal e laterais)
* Botão Liga/Desliga e Recarregar
**Vista Inferior:**
* Sensor antiqueda
* Terminal de Carregamento
* Escovas Laterais
* Roda Direcional (frontal)
* Tampa da Bateria
* Roda Direita e Esquerda
* Entrada do Aspirador
* Tanque 2 em 1 para Líquidos e Poeira

---
## GUIA DE CARREGAMENTO
### Como Usar a Base de Carregamento
Coloque a base de carregamento em uma superfície plana e conecte o adaptador de energia. O indicador de energia da base ficará aceso constantemente.
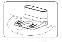
**Nota:** Coloque a base encostada na parede e remova todos os obstáculos com cerca de **1,5 metro de largura** nas laterais e **2 metros à frente** da base.

### Métodos de Carregamento
1. **Carregamento Direto:** Conecte o adaptador de energia diretamente no robô.
2. **Carregamento Automático:** Utilize a base de carregamento para o robô recarregar automaticamente.

**Nota:**
* **A.** Carregue o robô por pelo menos 12 horas na primeira vez. A luz do botão ficará vermelha durante o carregamento e verde quando a bateria estiver totalmente carregada.
* **B.** Para uso diário, mantenha o robô na base de carregamento ligada.
* **C.** Se não for utilizar por um longo período, carregue-o completamente, desligue-o e guarde-o em local seco e arejado.
* **D.** Recomenda-se utilizar o modo de carregamento automático.
---
## GUIA - ROBÔ ASPIRADOR
### Montagem do Pano Mop e Reservatório
1. **Instale o pano Mop:** Prenda o pano de microfibra no suporte.
2. **Instale o reservatório:** Empurre o reservatório de água horizontalmente no robô até ouvir um "clique". Para remover, segure o ponto vermelho e puxe para trás.
3. **Encha com água:** Abra a tampa do tanque e adicione água.
4. **Instale o suporte:** Encaixe o suporte com o pano Mop no fundo do reservatório de água até ouvir um "clique".



### Ligar e Desligar
* **LIGAR:** Pressione e segure o botão liga/desliga por 3 segundos até ouvir um bipe. A luz verde acenderá, o indicador Wi-Fi piscará e o robô entrará em modo de pareamento.
* **DESLIGAR:** Pressione longamente o botão liga/desliga por 3 segundos. A luz verde se apagará.

---
## CONTROLE REMOTO

* **(Power):** Iniciar/Finalizar
* **Setas Direcionais:** Andar para Frente, Trás, Virar à Esquerda/Direita
* **(Home):** Recarregar (Voltar à base)
* **II (Play/Pause):** Parar
* **Limpeza concentrada (Spot):** Limpa uma área específica de forma intensiva.
* **AUTO:** Limpeza Automática
* **Limpeza de Bordas (Edge):** Limpa ao longo das paredes.
* **Ajuste Intensidade:** Altera a potência de sucção.
* **Controle de fluxo de água:** Ajusta a quantidade de água liberada pelo Mop.
---
## DICAS IMPORTANTES ANTES DE USAR
* Dobre a borda franjada de tapetes para evitar que o robô fique preso.
* O robô não pode ser usado em espaços com menos de 75 mm de altura.
* Use o robô em ambientes com barreiras (como guarda-corpos) para evitar quedas.
* O efeito de limpeza pode ser reduzido em pisos muito refletivos ou de cores escuras.

---
## GUIA DE LIMPEZA E MANUTENÇÃO
### Compartimento de Poeira e Filtro
1. Abra a trava do coletor e despeje o lixo.
2. Remova os elementos filtrantes. O filtro HEPA pode ser lavado com água. Dê leves batidinhas para remover o excesso de poeira antes de lavar.
3. Lave o coletor de pó e o filtro. Deixe-os secar completamente antes de reinstalar.



### Tanque 2 em 1 de Líquidos e Poeira
1. **Limpe o Pano Mop:** Após o uso, remova o suporte do esfregão, enxágue o pano e deixe-o secar.
2. **Limpe o Tanque:** Drene a água restante do tanque, limpe-o e deixe secar.
3. **Instale o Esfregão:** Cole o esfregão na fita mágica do suporte.
4. **Encaixe o Suporte:** Vire o robô, alinhe e pressione o suporte do esfregão na parte inferior da máquina.




### Demais Componentes
* **Escova lateral:** Remova a escova e limpe-a com um pano.
* **Roda direcional:** Limpe a roda para remover pelos emaranhados.
* **Sensor Antiqueda:** Limpe os sensores com um pano para garantir a sensibilidade.
* **Janela do Sensor Frontal:** Limpe a janela do sensor com um pano se houver poeira.
* **Terminais de Carregamento:** Use um pano seco para limpar os contatos de carregamento na parte inferior do robô e na base.



---
## ADICIONANDO NO APLICATIVO
### Preparação
1. Baixe o aplicativo EKAZA e crie uma conta.
2. Certifique-se de que seu celular está conectado a uma rede Wi-Fi 2.4GHz.
3. **ATIVE O BLUETOOTH** em seu smartphone para facilitar a detecção.
### Conectando o Robô
1. Coloque o robô em modo de pareamento: Pressione e segure os botões **(Power)** e **(Home)** ao mesmo tempo por 3 segundos até ouvir um "beep". O indicador Wi-Fi piscará rapidamente.
2. No seu smartphone, abra o app EKAZA e toque no botão **“+”** no canto superior direito.
3. O dispositivo deve aparecer automaticamente. Toque em **“Adicionar”**.
4. Selecione sua rede Wi-Fi 2.4GHz, digite a senha e toque em **“Próximo”**.
5. Aguarde a configuração ser concluída. Seu Robô Aspirador estará adicionado.

---
## FUNÇÕES DO APLICATIVO

1. **Ligar/Desligar:** Pressione para acionar.
2. **Map:** Exibe o mapeamento do ambiente.
3. **Carregar:** Aciona o robô para voltar à base de carregamento.
4. **Modo Aleatório:** O robô anda por direções aleatórias.
5. **Modo Inteligente:** O robô limpa o ambiente de forma automática.
6. **Modo Seguir Parede:** O robô anda seguindo os cantos do ambiente.
7. **Modo Esfregão:** Ativa o pano mop para passar no ambiente.
8. **Modo Manual:** Controle manualmente o robô pelo aplicativo.
9. **Modo Espiral:** O robô limpa em forma de espiral para uma limpeza mais profunda.
10. **Agenda:** Configure horários para ligar e desligar o robô.
11. **Mais:** Acessa o menu de configurações avançadas.
---
## CONECTAR COM ASSISTENTES DE VOZ
### Amazon Alexa
1. No aplicativo EKAZA, verifique se o robô está na lista de dispositivos e dê a ele um nome fácil de reconhecer (ex: "Robô da sala").
2. Abra o aplicativo Alexa.
3. No menu, vá para **"Skills e jogos"**.
4. Pesquise por **“Ekaza”** e clique para ativar.
5. Faça login com sua conta EKAZA para vincular.
6. Peça para a Alexa descobrir novos dispositivos.
### Google Assistente
1. Abra o aplicativo Google Home.
2. No canto superior esquerdo, clique no botão **“+”**.
3. Selecione **“Configurar dispositivo”** e depois **“Você já tem serviços configurados?”**.
4. Procure por **“EKAZA”** na lista e selecione-o.
5. Faça login com sua conta EKAZA para vincular. Seus dispositivos aparecerão no Google Home.
---
## CUIDADOS E SEGURANÇA
1. O produto só deve ser desmontado por um técnico autorizado.
2. Use apenas o adaptador de energia fornecido.
3. Não manuseie o cabo, base ou adaptador com as mãos molhadas.
4. Mantenha a abertura e partes móveis livres de cabelos, roupas, etc.
5. Não utilize o aspirador para pegar materiais combustíveis ou inflamáveis.
6. Limpe o produto após o carregamento e com o interruptor desligado.
7. Não é um produto para uso externo.
8. Não utilize em pisos molhados ou com água.
9. Remova cabos e pequenos objetos do chão antes da limpeza.
10. Se houver escadas ou áreas suspensas, teste o sensor de queda e use uma barreira física se necessário.
11. Se não for usado por um longo período, recarregue a bateria a cada três meses.
12. Não use o produto sem o compartimento de pó e filtros instalados.
---
## TABELA DE CÓDIGOS DE ADVERTÊNCIA

O robô emitirá bipes e a luz vermelha piscará para indicar problemas.
| Problema | Indicação | Solução |
| :------------------------------------- | :-------------------------------------------- | :------------------------------------------------------------------- |
| **A roda está presa** | Emite um bipe e a luz vermelha permanece acesa | Verifique se há algo no vão da roda e limpe-o. |
| **O para-choque está preso** | Emite um bipe e a luz vermelha pisca | Verifique se o para-choque está preso e limpe-o de materiais estranhos. |
| **Escova lateral anormal** | Emite dois bipes e a luz vermelha pisca | Verifique se a escova lateral está presa com cabelo e limpe-a. |
| **Sensor de solo anormal** | Emite três bipes e a luz vermelha pisca | Verifique se o sensor de solo está coberto de sujeira e limpe-o. |
| **A bateria acabou** | Emite quatro bipes e a luz vermelha pisca | Carregue o mais rápido possível. |
**Dicas úteis:** Se o método acima não resolver o problema:
1. Reinicie a máquina.
2. Se o problema persistir, entre em contato com o Atendimento ao Cliente (SAC).
Este artigo foi útil?
Que bom!
Obrigado pelo seu feedback
Desculpe! Não conseguimos ajudar você
Obrigado pelo seu feedback
Feedback enviado
Agradecemos seu esforço e tentaremos corrigir o artigo
