Modelo: EKAC-T3098WB

Descrição do produto
MINI MÓDULO INTELIGENTE CONTATO SECO WIFI
Adicione um toque de inteligência à sua automação residencial com o Mini Módulo Inteligente Contato Seco WiFi da EKAZA. Este dispositivo compacto é ideal para integrar sistemas elétricos existentes com tecnologia moderna, permitindo o controle fácil e eficiente através do seu smartphone ou assistentes virtuais.
CONTROLE REMOTO ATRAVÉS DE CONEXÃO WI-FI
O Mini Módulo Inteligente oferece controle remoto de alta conveniência através do aplicativo EKAZA. Com a conexão Wi-Fi 2.4GHz, você pode gerenciar seus dispositivos elétricos de qualquer lugar. Abra o aplicativo e ajuste a operação dos dispositivos conectados ao módulo, proporcionando flexibilidade e controle a partir de qualquer local.
AGENDAMENTO DE HORÁRIOS PERSONALIZADOS
Programe os horários em que os dispositivos conectados ao módulo devem ser ativados ou desativados. Defina horários específicos para que suas luzes ou outros dispositivos elétricos funcionem conforme sua rotina diária, garantindo praticidade e eficiência no gerenciamento de energia.
CRIAÇÃO DE CENAS DE AUTOMAÇÃO PERSONALIZADAS
Crie cenários personalizados para atender às suas necessidades diárias. Por exemplo, configure uma cena de "Chegada em Casa" para automaticamente acender as luzes, ligar o sistema de ventilação e ajustar a temperatura ao chegar em casa. O Mini Módulo permite a integração com outros dispositivos inteligentes para criar experiências automatizadas e confortáveis.
ESPECIFICAÇÕES:
- Modelo: EKAC-T3098WB
- Marca: EKAZA
- Tensão: AC 100-240V 50/60Hz
- Potência Máxima: 5A/LED 150W (110V)
- Conexão: Wi-Fi 2.4GHz + Bluetooth
- Anatel: CB3S | 17869-21-11765
- Aplicativo: EKAZA
- Contém: 1 Unidade
- Validade: Indeterminada

FUNCIONALIDADES AVANÇADAS:
• Agendamento de Horários: Configure horários para ativar ou desativar dispositivos conectados conforme sua rotina.
• Conexão Wi-Fi: Controle remoto fácil e conveniente através do aplicativo EKAZA.
• Controle Remoto pelo Smartphone: Gerencie dispositivos a partir de qualquer lugar usando seu smartphone.
• Controle por Voz via Assistentes Virtuais: Compatível com Alexa e Google Assistente para comandos de voz.
• Criação de Cenas de Automação: Integre o módulo com outros dispositivos para criar cenários personalizados como a cena "Chegada em Casa".
• Homologado pela Anatel: Produto aprovado e seguro para uso conforme as normas brasileiras.
CONTEÚDO DA EMBALAGEM:
- 1x Mini Módulo Inteligente Contato Seco WiFi
- 1x Manual
## Link do Manual Mini Módulo de Contato Seco WiFi Alexa Google EKAC-T3098WB
## AVISO - ANTES DA INSTALAÇÃO
**AVISO DE RISCO DE CHOQUE:**
ESTE EQUIPAMENTO SEGUE O CÓDIGO E REGULAÇÕES ELÉTRICAS E PADRÕES LOCAIS DO BRASIL (NBR5410).
**ESTE PROCEDIMENTO REQUER INSTALAÇÃO ELÉTRICA DE UM PROFISSIONAL.**
**CUIDADOS COM A INSTALAÇÃO:**
TODAS AS LIGAÇÕES E FONTES PRINCIPAIS DE ENERGIA (TODAS AS LIGAÇÕES ELÉTRICAS DE ENTRADA E SAÍDA) DEVEM SER DESLIGADAS, EVITANDO LESÕES AO PROFISSIONAL E DANOS AO APARELHO.

### Processo de Instalação
**Passo 1:**
Desligue o disjuntor e use o testador elétrico para testar a energia.
Certifique-se de que o disjuntor esteja desligado antes de conectar a fiação.
**Passo 2:**
* Remova a placa de parede existente (se aplicável), ligue a energia no disjuntor e use um testador elétrico para verificar qual fio é fio fase; o testador piscará e/ou tocará quando chega perto de um fio fase.
* Desligue a energia do disjuntor e use o testador elétrico para confirmar se a energia está desligada. Em seguida, puxe o interruptor existente (se aplicável), rotule o fio fase e outros fios, desconecte os fios do interruptor existente com um alicate.
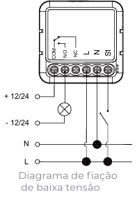
* Siga o diagrama de fiação para conectar os fios do interruptor aos fios na caixa de parede com os condutores de fio.


> **Note:** Os interruptores podem ser configurados como:
> * **Contatos normalmente Abertos (COM & NO):** Se S1 estiver conectado, o dispositivo também está conectado e, quando S1 estiver desconectado, o dispositivo está desconectado.
> * **Contatos normalmente Fechados (COM & NC):** Se S1 estiver conectado, o dispositivo está desconectado e, quando S1 estiver desconectado, o dispositivo será conectado.
**Passo 3:**
Monte o interruptor com os parafusos fornecidos e encaixe na parede (ou na caixa de junção).
**Passo 4:**
Ligue a energia novamente no disjuntor.
## PREPARAÇÃO
1. **Registre ou faça o login na conta EKAZA:**
* Baixe o aplicativo EKAZA na App Store ou Google Play.

2. **Configure o APP para o interruptor:**
* Certifique-se de que o interruptor foi conectado com eletricidade.
* Certifique-se de que seu celular foi conectado ao Wi-Fi e é capaz de se conectar à Internet.
3. **ATIVE O BLUETOOTH:**
Verificar de que seu smartphone está com Bluetooth ativado.

## WIFI 2,4GHZ
O interruptor suporta apenas a rede 2,4Ghz. Se você tiver conectado à rede 5G, desconecte a rede 5G primeiro e conecte a rede 2,4GHz.
Se você encontrar problemas durante o processo de configuração ou estiver usando um **roteador Vivo**, favor configure o método de criptografia como **WPA/WPA2-PSK** e o tipo de autorização como **AES** ou defina ambos como auto.
*Para mais informações sobre a configuração do roteador, por favor, consulte a seção de FAQ em APP EKAZA ou visite suporte.ekaza.com.br*
## RESET MÓDULO
1. Pressione a tecla Reset no módulo por cerca de 10 segundos.
**OU**
2. Pressione o interruptor on/off (conectado a S1/S2) 5 vezes. Em seguida, a luz conectada ao módulo (ou a luz indicadora dentro do módulo) piscará rapidamente para entrar em modo de configuração/emparelhamento.

## CONFIGURAR MODO WI-FI
1. Tenha certeza de que o módulo Interruptor esteja conectado corretamente na energia.
2. Em seu smartphone, toque no botão **"+" (Adicionar)**. Se já tiver um dispositivo EKAZA, toque no ícone do dispositivo no centro da tela para configurar. Se já tiver um dispositivo EKAZA, toque no botão **"+"** no canto superior esquerdo.

3. Aguarde 1-3s, então a página de prompt será exibida automaticamente na tela. Clique em **"Ir para adicionar"**.

4. Na tela seguinte, digite o nome da rede Wi-Fi e a senha. Em seguida selecione o botão **próximo**.
> **Lembrete:** Você deve conectar na rede Wi-Fi de 2,4GHz.

5. Será necessário esperar alguns segundos para que o dispositivo seja adicionado na rede Wi-Fi e esteja pronto para ser usado. (Se o processo falhar, repita os passos anteriores.)
Para finalizar, dê um nome para o dispositivo e indique o cômodo em que ele foi instalado para ser mais fácil identificá-lo.

## CONECTAR AO AMAZON ALEXA
1. Inicie o App **EKAZA**, faça login na sua conta e verifique se o Mini Hub Pro (ou o módulo contato seco) está na lista de dispositivos.
2. Troque o nome do dispositivo (Importante!) para que a Alexa possa facilmente reconhecer, tais como: "Luz Garagem", "Portão Eletrônico", etc.
3. Abra o App Alexa, entre na sua conta Alexa e certifique-se de ter pelo menos um dispositivo Alexa controlado por voz instalado como Echo, Echo dot, etc.
4. No canto inferior direito da Página inicial do App Alexa, clique no botão **"Mais"** para mostrar o menu e em seguida, clique em **"Skills e jogos"**.

5. Clique em pesquisar e digite **"EKAZA"**.
*(Image: `ekaza-modulo-contato-seco-alexa-passo5-pesquisa-ekaza.png` - Screenshot of Alexa app: Searching for Ekaza skill)*
6. Selecione o EKAZA e clique em "Ativar para uso", entre na sua conta **"EKAZA"** para completar a vinculação da conta.
*(Image: `ekaza-modulo-contato-seco-alexa-passo6-ativar-ekaza.png` - Screenshot of Alexa app: Activating Ekaza skill)*
7. Agora a sua conta EKAZA está vinculada com sucesso.
8. **Detectar Dispositivos:** Peça para a Alexa descobrir os seus dispositivos. Após 1 minuto os seus dispositivos descobertos aparecerão.

9. **Modifique o nome do dispositivo:** Sugerimos que use um nome facilmente reconhecível como "Luz Garagem", "Portão Café". Este nome será usado diretamente por Alexa.
10. **Controle por Voz:** Agora você pode controlar seu Mini Hub Pro (ou módulo contato seco) através da Alexa. Por favor, agora tente os seguintes comandos de voz:
* "Alexa, Ligue [nome que você deu na Alexa]"
* "Alexa, Desligue [nome que você deu na Alexa]"
## CONECTAR - GOOGLE ASSISTENTE
1. Inicie o aplicativo **Google Home** e verifique se o Google Home Speaker está instalado. Caso contrário, siga as instruções de instalação do alto-falante doméstico do Google para concluir a instalação.
2. Quando o Google Home estiver instalado, no canto superior esquerdo da página inicial do aplicativo, clique no botão **"+" (Adicionar)**.
3. Selecione a página **"Configurar dispositivo"**. Logo após selecione **"Você já tem serviços configurados?"**. Role para baixo até encontrar **"EKAZA"** e clique nele. Faça login no EKAZA App com sua conta.

4. Após vincular com êxito a conta, no aplicativo Google Home, você pode ver todos os dispositivos inteligentes da sua conta do **EKAZA**. Você pode atribuir cenas para cada dispositivo.
5. Agora você pode usar o Google Home para controlar seus dispositivos inteligentes, você pode dizer como:
*(Exemplo de comandos de voz)*
* "Ok Google, ligar [nome do dispositivo]"
* "Ok Google, desligar [nome do dispositivo]"

## RESOLUÇÕES E FAQ
**O que devo fazer quando o processo de configuração do dispositivo falhou?**
* Verifique se o interruptor está ligado ou não.
* Verifique sua conectividade de rede.
* **Verifique se o roteador está funcionando corretamente:**
* Se o roteador for roteador de banda dupla, selecione a rede 2.4GHz e adicione o Interruptor.
* Ative a função de transmissão do roteador.
* Configure o método de criptografia como WPA2-PSK e o tipo de autorização como AES ou defina ambos como auto.
* O modo sem fio não deve ser apenas 11n.
* Verifique há interferência de Wi-Fi ou mude o Interruptor para outro local se possível dentro do alcance do sinal.
* Verifique se os dispositivos conectados no roteador atingem o limite de quantidade. Tente desativar a função Wi-Fi de outros dispositivos para liberar o canal.
* Verifique se o roteador não está proibindo o Interruptor da conexão (ex: filtragem MAC).
* Verifique se a função de filtragem MAC sem fio do roteador está ativada. Remova o dispositivo da lista de filtros e certifique-se de que o roteador não esteja proibindo o interruptor da conexão.
Este artigo foi útil?
Que bom!
Obrigado pelo seu feedback
Desculpe! Não conseguimos ajudar você
Obrigado pelo seu feedback
Feedback enviado
Agradecemos seu esforço e tentaremos corrigir o artigo